zoukankan      html  css  js  c++  java
  • 微信开发那点事(No.001)

    MXS&Vincene  ─╄OvЁ  &0000024─╄OvЁ  MXS&Vincene 

    
    

    MXS&Vincene  ─╄OvЁ:今天很残酷,明天更残酷,后天很美好,但是绝大部分人是死在明天晚上,只有那些真正的英雄才能见到后天的太阳。

    
    

    MXS&Vincene  ─╄OvЁ:We're here to put a dent in the universe. Otherwise why else even be here? 

    
    

     

    
    

    正文>>>>>>>>>>>>>>>>>>>>>>>>>>>>>>>>>>>>>>>>>>>>>>>>>>>>>>>>>>

    声明:此文档提供给微信开发的小伙伴,不涉及商业用途若有用于商业用途后果自负,该文档属于独家见解,不足之处还请伙伴们反馈给MXS。MXS从事微信网页开发已有一年多,本文基于.Net开发微信(Java、Android、ios开发微信MXS没有具体了解详情请至微信官网文档查看api)把自己理解的与大家共享希望和大家交流学习共同进步。

     

    No.1  概述微信开发思想

    微信公众平台是运营者通过公众号为微信用户提供资讯和服务的平台,而公众平台开发接口则是提供服务的基础,开发者在公众平台网站中创建公众号、获取接口权限后,可以通过阅读本接口文档来帮助开发。

    微信公众号为了识别用户,每个用户针对每个公众号会产生一个安全的OpenID,如果需要在多公众号、移动应用之间做用户共通,则需前往微信开放平台,将这些公众号和应用绑定到一个开放平台账号下,绑定后,一个用户虽然对多个公众号和应用有多个不同的OpenID,但他对所有这些同一开放平台账号下的公众号和应用,只有一个UnionID,可以在用户管理-获取用户基本信息(此文中不涉及UnionID的讲解)。

     

    No.2微信开发需注意

     1、微信公众平台开发是指为微信公众号进行业务开发,为移动应用、PC端网站、公众号第三方平台(为各行各业公众号运营者提供服务)的开发,请前往微信开放平台接入。

    2、在申请到认证公众号之前,你可以先通过测试号申请系统,快速申请一个接口测试号,立即开始接口测试开发。

    3、在开发过程中,可以使用接口调试工具来在线调试某些接口。

    4、每个接口都有每日接口调用频次限制,可以在公众平台官网-开发者中心处查看具体频次。

    5、在开发出现问题时,可以通过接口调用的返回码,以及报警排查指引(在公众平台官网-开发者中心处可以设置接口报警),来发现和解决问题。

    6、公众平台以access_token为接口调用凭据,来调用接口,所有接口的调用需要先获取access_token,access_token在2小时内有效,过期需要重新获取,但1天内获取次数有限,开发者需自行存储,详见获取接口调用凭据(access_token)文档。

    7、公众平台接口调用仅支持80端口。

    No.3开发者模式

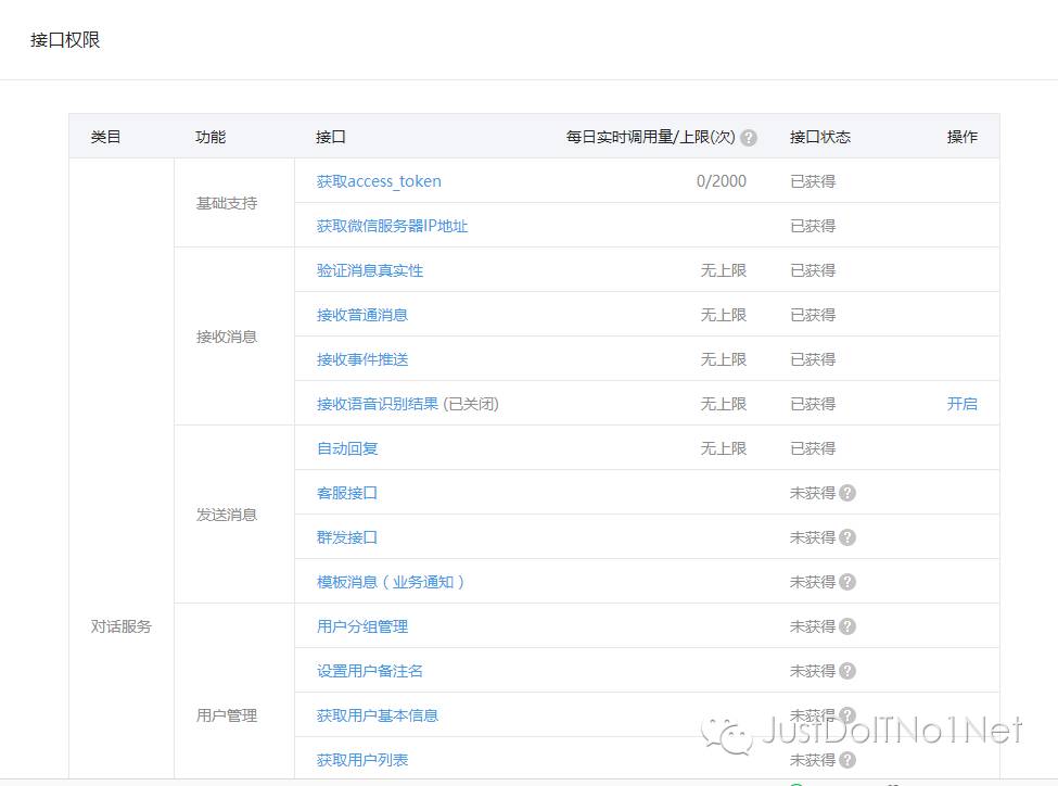
    登录微信公众号平台(https://mp.weixin.qq.com)在左侧导航栏中,找到”开发”中”基本配置”(图1)中可看到AppID和AppSecret,以及服务器配置相关项(图2)。在”接口权限”关于接口权限列表的获取(图3)


     

    图1


     

    图2


     

    图2

    本文档一周一更  下周上代码(通过网页授权获取用户信息,如何获取access_token、OpenID)

    MXS文档

    QQ群:238575862(我为NET狂-官方群①)

  • 相关阅读:
    SqlServer卸载实例
    java写的各种钟(收集)
    Codeforces 1003D Coins and Queries 【性质】
    Codeforces 997B Roman Digits【暴力】【枚举】
    洛谷 P2679 子串 【dp神题】【滚动数组】【2015 noip d2t2】
    复习图论
    Codeforces 1000D Yet Another Problem On a Subsequence 【dp】【组合数学】
    Codeforces 1000C Covered Points Count 【前缀和优化】
    Codeforces 999F Cards and Joy 【dp】【性质】
    Codeforces 999D Equalize the Remainders 【模拟】
  • 原文地址:https://www.cnblogs.com/moxuanshang/p/5556432.html
Copyright © 2011-2022 走看看